- -12%
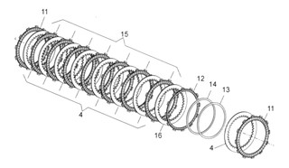
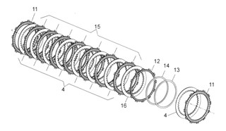
KIT DE DISQUES D'EMBRAYAGE GARNIS APRILIA RSV4 2009-2021 - VERSION RACING
Réf. F1455R
KIT DE DISQUES GARNIS RACING NEWFREN
Fort coefficient de friction
Modèle recommandé en compétition
155,00 €
175,00 €